Очки Apple Mixed Reality с функцией охлаждения лица
Согласно информации некоторых источников, компания Apple заканчивает работу над разработкой очков смешанной реальности, которые представят уже в следующем году. Патент нового гаджета показывает, что он оснащен системой кондиционирования, которая способна охладить не только само устройство, но и лицо пользователя.
Информация о новых VR-очках Apple просочилась еще в начале нынешнего года. Стало известно, что гаджет будет оборудован 2-мя дисплеями по 8К, мощным чипом и несколькими дополнительными датчиками отслеживания взгляда, пространства и просмотра AR-видео. С такими характеристиками устройство явно превзошло бы все предшествующие модели без всякой конкуренции.
Те, кто имеет представление о подобных функциях и оснащении, понимают, что такое устройство должно выделять больше тепла, чем другие VR-очки, в том числе Oculus Quest 2, учитывая нагрузку процессора и энергетические ресурсы. Естественно в таком случае потребуется усиленное охлаждение.
Кондиционер для очков и лица
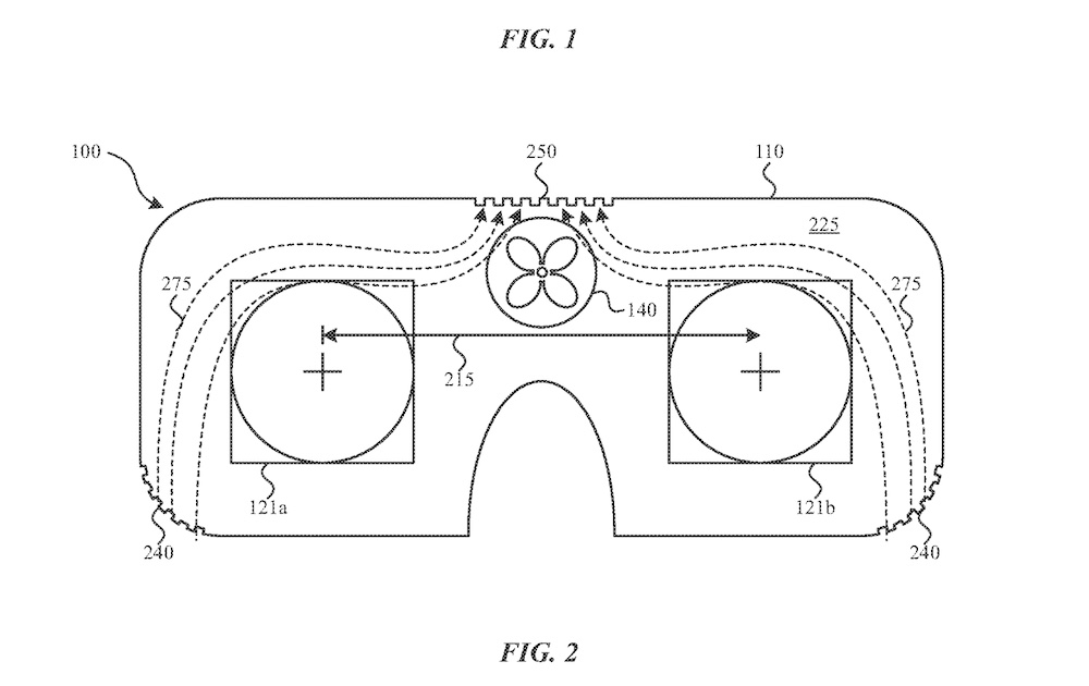
Судя по данным патента, новые очки виртуальной реальности Apple оснащены специальной системой охлаждения. В корпусе устройства имеются несколько отверстий для циркуляции воздуха, который поступает через входные отверстия (расположенные в нижних углах корпуса), проходит мимо чипа и дисплеев, затем выходит через выпускное отверстие сверху. Это позволяет держать гарнитуру в режиме постоянного кондиционирования.

В одной из версий очков смешанной реальности воздух циркулирует таким образом, что поток направляется на лицо человека носящего их. Таким образом разработчики компании Apple решили сразу 2 проблемы.
Не совсем новая идея
Учитывая сложность конструкции устройства сразу возникает множество вопросов по поводу внедрения очков виртуальной реальности на рынок сбыта. Судя по наличию новых функций такой гаджет будет стоить недешево, к тому же из-за сложности конструкции увеличиваются шансы снижения сроков эксплуатации устройства. Помимо этого, система кондиционирования может создавать дискомфорт в виде шумов во время эксплуатации очков.
Эти факторы являются явным недостатком, а сама компания Apple считает их проблемой, которую нужно решать, хотя сама идея охлаждения не является новинкой. Ранее одна из компаний, занимающаяся разработкой устройств виртуальной реальности уже выпускала подобные очки с мини-вентиляторами, крепящимися снаружи как дополнительное устройство. Они также нагнетают свежий воздух не только на гарнитуру, но и на лицо пользователя.
Рекомендуемые товары


